主要技术参数:
发布日期:2026-03-06
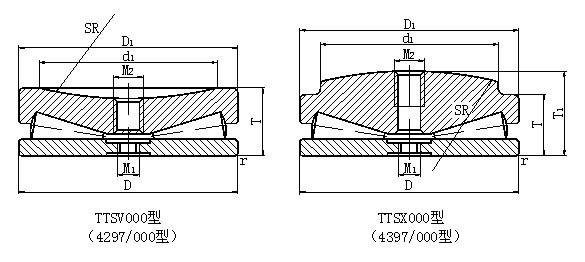
该类轴承是专用轴承,是为轧钢机压下机构专门设计的,轴承无保持架满装滚子,允许的转速极低,轴向负荷能力很大,为满足轧钢机压下机构工作要求,该类轴承的顶圈顶端加工成凸球面TTSX000型(4297/000型)或凹球面TTSV000型(4397/000型),以保证其调心性能,同其他相配合的异型端面接触均匀,在压下机构相对轴承轴线产生一定倾斜时能保证轴承受力均匀。
该类轴承是经过严格配套而成,滚子及其他零件互换性差,每套轴承应独立使用,安装时套与套之间的滚子不能混装。

主要技术参数:
| 轴承型号 | 外形尺寸(㎜) | 额定静载荷 | 质量Weight | |||||||||
| Bearing NO. | Boundary Dimensions | Load Rating | ||||||||||
| 现型号 | 原型号 | D | Mass | T1 | T | d1 | SR | M1 | M2 | rmin | Coa(kN) | (㎏) |
| Current | Original | |||||||||||
| TTSX100 | 4397/100 | 100 | 98 | 37 | 32 | 87 | 250 | M8 | 1.5 | 1002 | 1.9 | |
| TTSX120 | 4397/120 | 120 | 118 | 45 | 38 | 105 | 300 | M10 | 1.5 | 1635 | 3.3 | |
| TTSX150 | 4397/150 | 150 | 148 | 55 | 48 | 127 | 457.2 | M12 | 1.5 | 2325 | 6.3 | |
| TTSV150 | 4297/150 | 150 | 148 | 48 | 127 | 228.6 | M12 | 1.5 | 2325 | 5.7 | ||
| TTSX175 | 4397/175 | 175 | 173 | 62 | 53 | 152 | 457.2 | M12 | 1.5 | 3223 | 9.6 | |
| TTSV175 | 4297/175 | 175 | 173 | 53 | 152 | 228.6 | M12 | 1.5 | 3223 | 8.5 | ||
| TTSX203 | 4397/203 | 203 | 201 | 75.6 | 65 | 178 | 508 | M12 | 1.5 | 4500 | 16 | |
| TTSV203 | 4297/203 | 203 | 201 | 65 | 178 | 254 | M12 | 1.5 | 4500 | 10.2 | ||
| TTSX205 | 4397/205 | 205 | 203 | 76 | 65 | 178 | 508 | M20 | 1.5 | 4585 | 16.2 | |
| TTSV205 | 4297/205 | 205 | 203 | 65 | 178 | 254 | M20 | 1.5 | 4585 | 14.3 | ||
| TTSX235 | 4397/235 | 235 | 233 | 85 | 73 | 208 | 560 | M20 | 1.5 | 6028 | 23.7 | |
| TTSV235 | 4297/235 | 235 | 233 | 73 | 208 | 280 | M20 | 1.5 | 6028 | 18 | ||
| TTSX265 | 4397/265 | 265 | 263 | 95 | 81 | 229 | 609 | M20 | 1.5 | 7753 | 33.9 | |
| TTSV265 | 4297/265 | 265 | 263 | 81 | 229 | 304.8 | M20 | 1.5 | 7753 | 24.1 | ||
| TTSX320 | 4397/320 | 320 | 318 | 112 | 95 | 280 | 762 | M24 | M30 | 1.5 | 11500 | 58.9 |
| TTSV320 | 4297/320 | 320 | 318 | 95 | 280 | 380 | M24 | M30 | 1.5 | 11500 | 51 | |
| TTSX377 | 4397/377 | 377 | 375 | 129 | 112 | 330 | 914 | M24 | M30 | 1.5 | 17192 | 93.5 |
| TTSV377 | 4297/377 | 377 | 375 | 112 | 330 | 457.2 | M24 | M30 | 1.5 | 17192 | 65.8 | |
| TTSX380 | 4397/380 | 380 | 378 | 129 | 112 | 330 | 914.4 | M24 | M30 | 1.5 | 17490 | 98.5 |
| TTSV380 | 4297/380 | 380 | 378 | 112 | 330 | 457.2 | M24 | M30 | 1.5 | 17490 | 66 | |
| TTSX410 | 4397/410 | 410 | 408 | 142 | 122 | 355 | 1016 | M24 | M30 | 1.5 | 18910 | 125 |
| TTSV410 | 4297/410 | 410 | 408 | 122 | 355 | 508 | M24 | M30 | 1.5 | 18910 | 110 | |
| TTSX440 | 4397/440 | 440 | 438 | 158 | 130 | 380 | 1016 | M24 | M36 | 3 | 23330 | 139 |
| TTSV440 | 4297/440 | 440 | 438 | 130 | 380 | 508 | M24 | M36 | 3 | 23330 | 137 | |
| TTSX495 | 4397/495 | 495 | 492 | 172 | 146 | 432 | 1066.8 | M24 | M36 | 3 | 26000 | 237 |
| TTSV495 | 4297/495 | 495 | 492 | 146 | 432 | 558.8 | M24 | M36 | 3 | 26000 | 190 | |
| TTSX525 | 4397/525 | 525 | 522 | 180 | 155 | 460 | 1270 | M24 | M36 | 3 | 36200 | 266 |
| TTSV525 | 4297/525 | 525 | 522 | 155 | 460 | 635 | M24 | M36 | 3 | 36200 | 224 | |
| TTSX555 | 4397/555 | 555 | 522 | 192 | 165 | 482 | 1270 | M24 | M36 | 3 | 33500 | 275 |
| TTSV555 | 4297/555 | 555 | 522 | 165 | 482 | 635 | M24 | M36 | 3 | 33500 | 275 | |
| TTSX580 | 4397/580 | 580 | 577 | 195 | 165 | 510 | 1422.4 | M24 | M42 | 3 | 38000 | 330 |
| TTSV580 | 4297/580 | 580 | 577 | 165 | 510 | 710 | M24 | M42 | 3 | 41560 | 300 | |
| TTSX610 | 4397/610 | 610 | 607 | 205 | 178 | 533 | 1524 | M30 | M42 | 3 | 44420 | 388 |
| TTSV610 | 4297/610 | 610 | 607 | 178 | 533 | 762 | M30 | M42 | 3 | 44420 | 345 | |
| TTSX640 | 4397/640 | 640 | 637 | 214.8 | 185 | 550 | 1524 | M30 | M42 | 3 | 48560 | 454 |
| TTSV640 | 4297/640 | 640 | 637 | 185 | 550 | 762 | M30 | M42 | 3 | 48560 | 418 | |
| TTSX710 | 4397/710 | 710 | 705 | 250 | 235 | 610 | 1600 | M30 | M42 | 4 | 62700 | 697 |
| TTSX750 | 4397/750 | 750 | 745 | 260 | 225 | 650 | 1600 | M30 | M42 | 4 | 63900 | 747 |
| TTSX800 | 4397/800 | 800 | 795 | 270 | 245 | 700 | 1700 | M30 | M48 | 4 | 65000 | 930 |
| TTSX900 | 4397/900 | 900 | 896 | 280 | 236 | 750 | 1800 | M36 | M48 | 6 | 94000 | 1230 |